2.2 视频管理
视频上传完毕后,后台会自动为您跳转到视频列表管理页面。
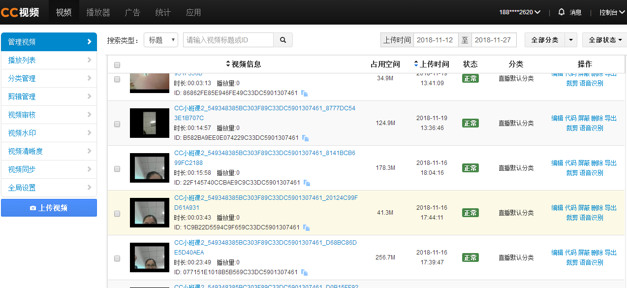
您也可以进入视频页面,点击管理视频按钮,可以编辑、查询、删除、编辑现有视频。
管理视频页面:

1)搜索视频:
在管理视频页面,我们为您提供5种方式检索已有视频,每种查询之间可以同时生效:
·按视频ID号码查询,注:ID号必须完全正确;
·按上传者账号查询;
·按上传时间查询;
·按视频分类查询; ·按视频状态查询。
2)视频列表:
用来显示所有成功上传的视频文件的列表,并且支持按照视频标题、上传时间排序。
3)编辑视频:
点击编辑,在弹出页面对视频可以进行如下操作:
·修改标题、分类标签等视频基本信息;
·修改视频封面图片;
·设置打点功能,对视频的任意时间位置打点增加描述信息;
·视频问答功能,在视频的任意时间设置问题(单选、多选);
·查看文件大小;
编辑视频页面:

视频打点:
点击编辑,选择视频打点标签,选择时间段、填写描述文本后,点击添加即可完成打点。
·每个视频最多可打20个点,描述字数限制为20个;
·可拖拽进度条进行选择时间点,也可以点击+、-对时间点进行微调; 详情请参照"http://dev.bokecc.com/index.shtml"
打点页面:

视频问答
点击编辑,选择视频问答标签

点击新增问答进入问题设置页面

题目:自定义问题,字符不超过60字。
选择时间:根据需要添加问答的视频位置获取时间或者手动输入时间。
答案:可以自定义答案,最少两个答案选项,最多八个答案选项。点击“+”增加答案,点击“-”减少答案。点击“置为正确”可将答案设置为正确选项。
解答:根据问题设置解答描述。能否跳过:选择“是”,观看者可以跳过该问答。选择“否”用户必答该问题。
答错跳回:可以这是问题打错后跳会的时间。点击添加该问题设置完成。
4)屏蔽视频:
点击屏蔽,该视频将被屏蔽不可播放,点击恢复可恢复正常播放状态。
5)删除视频:
点击删除,视频将被彻底删除,无法恢复,也不再占用存储空间。
6)原片备份、导出视频:
我们为您原片导出功能,只有开通原片备份功能,才可以使用导出功能。
点击导出,可导出该视频原片到本地,尚在处理状态视频,需等处理结束后方可导出。
7)批量操作:
勾选具体视频,弹出批量操作框,在此还可以快捷的批量修改视频分类。
批量操作-移动页面:


